购买检漏仪认准深圳戈埃尔科技,防水检测仪源头厂家,具有16年研发经验.适用于一切需要防水,密封,气密性检测的地方.可同时检测多个产品!
一、实际漏孔的确定
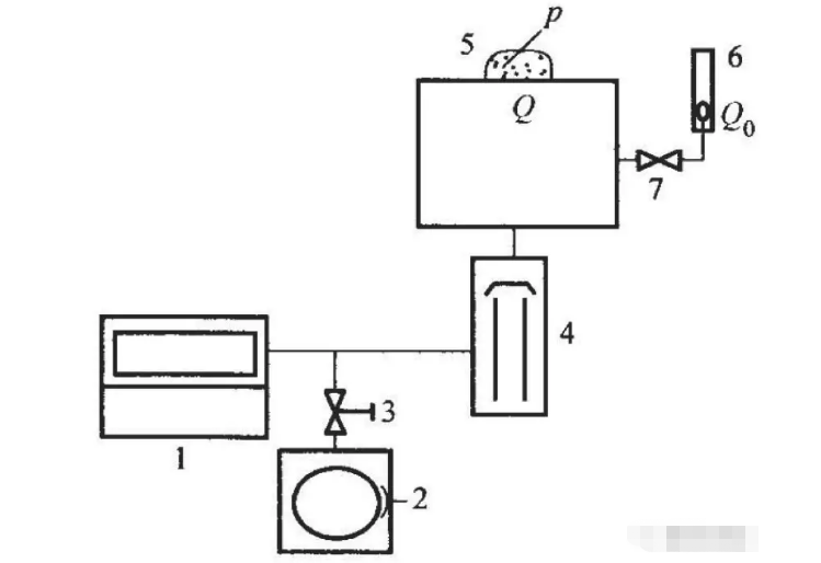
如果在被检容器上接一只渗氦型标准漏孔,它对氦气的漏率为Q0,如图25所示。利用标准漏孔比较法可以确定所检出的实际漏孔的漏率值。其方法如下。

图25 实际漏孔漏率测试系统
将检漏仪及检漏系统调速在检漏状态并保持不变。打开标漏阀,待输出指示稳定后读出标漏阀打开前、后检漏仪稳定的输出指示的变化值,设为ΔI0。关闭标漏阀,对实际漏孔进气端施以压力为p的氦压,读出施氦前、后检漏仪的输出指示的变化值,设为ΔI。那么,实际漏孔在压力p下对氦气漏率Q可由式(38)得出
(38)
值得注意的是,这种比较是标准漏孔的漏率与实际漏孔的漏率的比较。因此,比较时除了标准漏孔的位置要与实际漏孔的位置相当外,标准漏孔的工作条件应该与给出其漏率的工作条件一致,也就是与校准标准漏孔时的条件(压力、温度、气体)一致,而不是与实际漏孔所处条件一致。当标准漏孔采用通道型标准漏孔,如铂丝玻璃型标准漏孔、金属压扁型标准漏孔时,如果其漏率Q0是在压力p0下校准出来的,那么比较中标准漏孔进气端所施氦压也应该为p0,而不是被检容器检漏时所施氦压。
二、吸枪
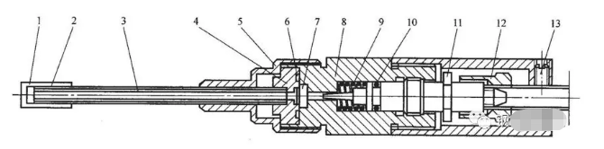
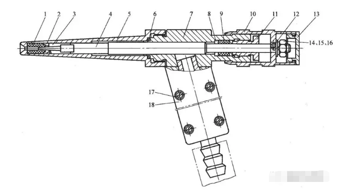
吸枪是氦质谱仪的一种取样探头,当被检件内充高压氦气后,氦气通过漏孔逸出到空气中,使用这种探头可将含有漏出的氦气的空气吸入到检漏仪中,从而灵敏地指示出空气中微量的氦分压变化。作为这种探头,可以是具有一定流导的毛细管或孔隙,也可以是一种渗氦薄膜。但大多数吸枪采用针阀式结构,调节阀针可以精细调节吸枪的流导以满足检漏仪的工作压力要求。图29、图30为两种针阀式吸枪的结构图。

图29 针阀式吸枪结构图(1)
1-防尘罩;2-吸管外套;3-吸管;
4-管座组件;5-压紧螺母;6-密封圈;
7-过滤片;8-阀座;9-弹簧;10-密封圈;
11-阀针;12-固定螺母;13-固定螺钉
对吸枪的主要要求是调节灵活,能圆滑精细地调节到要求的流导,且重复性好,流导稳定。吸枪容易被微粒堵塞,因此针阀前端应有过滤装置。吸枪与检漏仪之间的连接管应尽量短而粗,以减小反应时间。

图30 针阀式吸枪结构图(2)
1-氟橡胶圈;2-压头;3-弹簧;4-阀针;5-吸枪头;
6-密封圈;7-阀体;8-垫圈;9-密封圈;10-调节螺纹帽;
11-压紧螺纹;12-固定螺丝;13-保护端盖;
14、15、16-紧固螺栓组件;17-固定螺丝;18-手柄
三、氦气
氦气是一种无色、无味的隋性气体。相对分子质量为4.003,分子直径为2.18×10-10m,分子的质量为3.65×10-27kg,在标准状态下的密度为0.1769kg/m3,临界温度为5.25K,临界压力为2.26×105Pa,1atm压力下的沸点为4.214K,熔点为0.9K,三相点温度为2.186K,三相点压力为51.1×10-2Pa,在标准状态下的热导率为510.79J/(m·h·K),在标准状态下的定压比热为5233J/(kg·K),在标准状态下的动力粘度系数为1.86×10-5Pa·s,1L液氦气化为标准状态下的氦气体积为700L。
国家标准规定的瓶装氦气按纯度高低分别为工业用氦、纯氦、高纯氦三种。
1、工业用氦:氦含量≥99%,露点≤43℃.
2、纯氦分三级:优等品氦含量≥99.995%;一等品氦含量≥99.993%;合格品氦含量≥99.99%。
3、高纯氦分为三级:优等品氦含量≥99.9996%;一等品氦含量≥99.9993%;合格品氦含量≥99.999%。
氦气在检漏中作为示踪气体使用,纯度要求不高,一般选用工业用氦。
三、真空泥
检漏中,经常要使用真空泥来进行临时性密封。真空泥是一种黑色的泥状均匀物质。它是由高粘度低蒸气压的精制石油脂与高山余土机械地拌和而制成的一种可塑性油灰。它在室温度能塑性变形,参很好地与固体材料表面粘结而起密封作用,而且它在室温下具有较低的饱和蒸气压(10-2Pa),暴露在空气中不易干燥,因此适合于作为一种低真空系统的临时性密封材料。使用温度不宜超过30℃。根据使用温度,国产真空泥有30号和80号两种牌号。
深圳戈埃尔科技总部设在龙岗区布吉街道134号三楼,是一家技术力量雄厚的专业的防水测试设备生产厂家,拥有多年的生产和技术开发经验,现主要产品是:试水机,试漏机,测漏机,检漏机,试漏仪,测漏仪,检漏仪,气密性检测设备,防水测试机,防水测试仪,防水测试设备,0-50度试水机,六头/十头真空试水机,水压真空两用试水机等。公司产品远销香港、台湾、日本、韩国、印度、马来西亚、新加坡、士耳其、新西兰、美国、德国等。